Опередивший время

We use cookies. Read the Privacy and Cookie Policy

Явления, на которые мы раньше взирали как на чудеса, явления, которые трудно было объяснить, теперь мы видим в ином свете. Искровой разряд в индукционном кольце, светимость лампы накаливания, проявления механических сил потоков и магнитов теперь уже не остаются вне пределов нашего понимания. Вместо прежнего непонимания, наблюдая за их действием, наш ум предлагает простое объяснение. И хотя по поводу их конкретной природы мы имеем лишь гипотезы, тем не менее уверены, что истина не сможет оставаться скрытой, и инстинктивно чувствуем, что близится время понимания. Мы все еще восхищаемся этими прекрасными явлениями, этими странными силами, но мы более не беспомощны.

Н. Тесла

Прогресс человечества неотъемлемо связан с изобретением. Это важнейший продукт его творческой мысли. Его конечной целью является полное покорение материального мира разумом, использование сил природы на благо человека. Это сложная задача изобретателя, которого часто не понимают и недооценивают. Но все эти неприятности он с лихвой компенсирует удовольствием от осознания своей власти и принадлежности к тому привилегированному слою, без которого человечество давно бы уже пало в бесплодной борьбе с безжалостной стихией. Что касается меня, то я уже в полной мере испытал это величайшее наслаждение, так что в течение многих лет моя жизнь была полна нескончаемого восторга.

Н. Тесла. Дневники

Бушующее море электричества.

На своих лекционных демонстрациях Тесла любил прохаживаться по сцене в пробковых изолированных ботинках, ступая по рекам эфирного электричества, создаваемым клубками оголенных проводов, подключенных к катушкам Теслы.

Обширный зал парижского выставочного манежа заполнен до отказа. Зрители с нетерпением ждут появления «американского электрического мага», как писала «Фигаро». Но вот «русский свет» больших ламп Яблочкова медленно меркнет и на сцене появляется необычная фигура — очень высокий (на изолирующих пробковых ходулях-ботинках) и худой, во фраке и мерцающем искрами галстуке маг электричества Никола Тесла. Опыты следуют один за другим: крутятся, рассыпая молнии, колеса разрядников; жужжа, разбрасывают искры причудливые катушки Теслы; в руках изобретателя загораются таинственным голубым светом никуда не подключенные лампы. Публика постоянно ахает и разражается аплодисментами, переходящими в овации.

Мало кто знал, сколько труда и упорства требовали эти безупречно поставленные демонстрационные эксперименты. Десятки раз ученый повторял каждый опыт, добиваясь безукоризненной зрелищности физических эффектов, как поэт добивается красоты и точности рифмы. Кроме того, будучи истинным творцом, Тесла не терпел повторов, и каждое его выступление содержало новые поражающие воображение элементы. Как постановщик своих электрических представлений он выступал в разных ролях: и конструктора, и инженера, и техника-сборщика.

Современная реконструкция показательных опытов Теслы.

До сих пор вызывает восхищение разнообразие интересов изобретателя. Так, в его неповторяющихся демонстрациях можно было встретить, по терминологии Теслы, «сияющие перистые кисти электрических разрядов в вакуумированном баллоне». Сейчас мы это называем свечением канала пучка электронов в плазме ионизированных атомов газа электронной лампы. В других опытах угадывались принципы действия бетатрона — ускорителя электронов. При этом Тесла вплотную подошел к созданию циклотрона, разгоняющего изолированные атомы электричества до невообразимых скоростей. В числе других гениальных задумок изобретателя можно найти описание космических лучей, радиоэлектронные лампы, рентгеновское излучение, полученное задолго до Рентгена, плазмохимические приборы, ну и конечно же, разнообразнейшие флуоресцентные лампы.

На своих демонстрациях изобретатель больше всего говорил о загадочном очаровании электричества и магнетизма:

— Их сущность кажется двойственной, уникальной по сравнению с другими силами природы, а их притяжение, отталкивание и вращение вызывает интригующие и возбуждающие умственное воображение мысли…

Больше всего Тесла гордился своей беспроводной и безэлектродной газоразрядной лампой. Он любил демонстрировать окружающим передвижение таких ламп в любые уголки помещения, шокируя зрителей тем, что лампы продолжали гореть. Тесла никогда не пытался найти лампам коммерческое применение, однако их все еще продолжают исследовать и до сих пор на них получают патенты!

В своих демонстрационных лекциях Тесла никогда не забывал упомянуть своих предшественников, начиная с Фарадея и Максвелла. Демонстрируя разнообразные вакуумные баллоны и колбы, он всегда отмечал, что обязан Уильяму Круксу, который в 1870 году сконструировал электронную лампу с двумя парами электродов внутри. Конечно, больше всего внимания изобретатель уделял эффектам, достигаемым благодаря переменным токам высокой частоты и высокого напряжения:

«Мы наблюдаем, как проявляется энергия переменного тока, проходящего по проводу, — не столько в проводах, сколько в окружающем пространстве, — довольно удивительным образом принимая свойства тепла, света, механической энергии и, что поражает более всего, даже химического сродства…

— Вот подключенная лампочка, подвешенная на проводе… Я сжимаю ее, и выступающая платиновая пуговка сильно раскаляется…

А здесь другая лампа, присоединенная к подводящему напряжение проводу. Если я дотрагиваюсь до ее металлического цоколя, она заполняется интересным многоцветным фосфоресцирующим сиянием…»

Разряды из катушек Теслы.

В последнее время многие энтузиасты пытаются восстановить показательные эксперименты великого изобретателя.

«Вот я стою на изолированной платформе и привожу свое тело в контакт с одним концом вторичной обмотки электрического реактора… И вы видите потоки света, пробивающиеся с его дальнего конца, который приведен в состояние сильной вибрации…

Еще раз я присоединяю эти две пластины из металлической сетки к концам обмотки электрического реактора, и вы видите великолепный разряд, принимающий форму сияющих потоков света».

Тесла всегда подчеркивал, что большинство его изобретений родилось с помощью его незаменимого электрического реактора переменного поля разрядов. Любопытно, но изобретатель никогда не давал детальную схему действия своего «реактора», мотивируя это тем, что с его помощью можно подойти к созданию «лучей смерти».

Главный образ, который Тесла постоянно преподносил своим слушателям в качестве исчерпывающего объяснения всех своих поразительных опытов, был прост, но таинственен: «Это все, — как говорил исследователь, — наполненный энергией светоносный электрический эфир».

Например, он демонстрировал двигатель на одном электропроводе, второй контакт был присоединен к «эфирному пространству», при этом изобретатель рассказывал о создании электропланов с двигателями, работающими совершенно без проводов. А однажды он презентовал аудитории проект своего ракетоплана-ионолета, черпающего энергию прямо из «глубин космоса»:

«Вполне возможно, что такие беспроводные электродвигатели, как их можно называть, могут заряжаться энергией на значительных расстояниях благодаря электропроводности разреженного воздуха. Переменный ток, особенно высокочастотный, с поразительной легкостью проходит даже через чуть разреженный газ. А ведь вверху воздух разрежен. Чтобы подняться на несколько миль в космос, конечно, требуется преодолеть некоторые трудности — преимущественно механической природы. Нет сомнения, что благодаря высоким частотам и масляной изоляции светящиеся электрические разряды могут распространяться на многие мили в разреженном воздухе. И путем такой передачи электричества через огромные расстояния двигателями мощностью в несколько сотен лошадиных сил или лампами можно управлять из стационарного источника…

У нас не будет необходимости передавать энергию таким способом. Нам совсем не надо будет передавать энергию. Еще до того как минует несколько поколений, наши механизмы будут приводиться в движение силой, доступной в любой точке Вселенной. Эта идея не нова… Мы встречаем ее в чудесном мифе об Антее, который получал энергию от земли; мы встречаем ее среди глубоких рассуждений одного из ваших блестящих математиков… Во всем космосе есть энергия. Кинетическая это энергия или статическая? Если она статическая, то наши надежды напрасны; если кинетическая и мы знаем, что так оно и есть, то это просто вопрос времени, когда люди смогут подключать свою технику к механизму природы…»

Патентная схема системы передачи электрической энергии: D, D1 —антенны-излучатели; В — антенный провод; А, А1 — внутренняя катушка; С, С1 — внешний контур; G — ползунковые контакты; L — ламповая нагрузка; М — механическая нагрузка.

Патентная схема аппарата для передачи электрической энергии, составлявшего основу проекта «Ворденклиф»: Р, D, V — элементы внешнего излучателя; F, Y, D, B1 — конструкция мачты; B — катушка индуктивности; F1 — резонансный трансформатор; А — внутренняя обмотка; С — внешняя обмотка; G — конденсатор; Е — заземление.

Проследить деятельность Теслы в этот период просто невозможно. Кажется, будто он одновременно присутствует везде, работая в нескольких перекликающихся и взаимосвязанных областях, но всегда с электричеством — таинственной материей, основой его исследований. Для него электричество было скорее жидкостью с трансцендентными силами, которые «снисходят» до подчинения физическим законам, но никак не потоком дискретных частиц (или волновых пакетов), послушных законам механики, как это принято в современной теории.

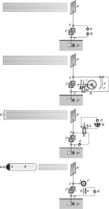
Патентная схема утилизации потока электрической энергии излучения: Р — приемная антенна; T, Т1, d, R- элементы контура; P1 — заземление; С — конденсатор; а, b, М — элементы реле; В — питание реле; Р, s — обмотки трансформатора; k, S — излучатель.

Патентная схема Теслы беспроводной передачи электрических сигналов: D1, D2, d1, d2, d3, d4, d5 — антенны; S1, S2, S3, S4, S5, P1, P2, P3 — катушки индуктивности; С — емкость; R — сопротивление; L — индуктивность.

В это же время изобретатель продолжал совершенствовать свои генераторы переменного тока, выпуская их с известным промышленником Вестингаузом на совместном предприятии «Вестингауз Электрик». Тесла также продолжал вести яростную идеологическую войну со сторонниками постоянного тока, возглавляемыми Эдисоном, и разрабатывать уникальные радиоуправляемые модели транспортных средств. Он постоянно участвовал в работе различных форумов и выставок, где его экспозиция с действующими приборами и оборудованием производила фурор.

Более 800 000 книг и аудиокниг! 📚

Получи 2 месяца Литрес Подписки в подарок и наслаждайся неограниченным чтением

ПОЛУЧИТЬ ПОДАРОК